聚焦水蜜桃隐私视频网站,传递环境检测行业新动态

烧结钕铁硼HAST失重试验方法

作者: salmon范 编辑: 水蜜桃隐私视频网站仪器 来源: www.zyaxcs.com 发布日期: 2021.06.05
    失重试验是指烧结钕铁硼永磁体基材样品暴露在高温高压水蒸汽环境条件下(推荐采用HAST试验箱测试)因腐蚀导致每单位磁取向表面积对应的质量损失,以mg/cm2为单位。
    注:烧结钕铁硼永磁体在高温高压水蒸汽环境条件下的腐蚀主要来自样品磁取向表面,腐蚀沿易磁化方向向样品内部推进。但某些特殊情况下(如制样过程不合理、或试验时样品摆放方向不合理、或样品框不合适、或样品微观组织结构比较特殊等),可能试验后样品非磁取向面也可见明显腐蚀,且估计非磁取向面腐蚀对失重的贡献超过磁取向面腐蚀对失重的贡献的10%时以上时,建议用样品暴露在试验环境中的总表面积来计算失重率。

    1、方法原理

    将经过准确质量称量和尺寸测量的烧结钕铁硼磁体样品放入高压容器中,样品在高温高压水蒸汽的作用下持续试验一定时间后, 表层晶粒与水蒸汽产生电化学反应,导致晶粒剥落,表层腐蚀粉化;试验完毕后,取出样品,将表面疏松腐蚀物清除后再称量,依据试验前后样品质量变化计算单位磁取向表面积对应的质量损失(即失重)。

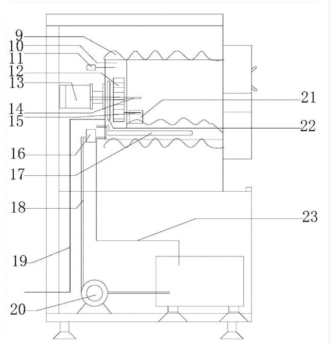
    2、试验装置

    常用HAST试验箱结构示意图如下

HAST试验箱结构示意图

HAST试验箱结构示意图

HAST试验箱

HAST试验箱实景图

    HAST试验箱应能产生表1给出的温度和与饱和模式相对应的湿度,以及维持与温湿度相对应水蒸汽压力值;试验持续时间应能满足表1的规定。
    试验空间中所有零部件以及样品框不应引起试验样品腐蚀,或使试验用水的水质劣化。样品框在试验条件下不应产生肉眼可见腐蚀。
    推荐采用实验室用高硼高硅耐高温玻璃棒支架或培养皿作为样品框。

    3、试验用水

    应使用蒸馏水或去离子水作为试验用水。室温条件下,试验用水的电阻率不应低于0.5MQ·cm,pH值应在6.0~7.2之间。

    4、试验样品

    形状:推荐采用切片加工方式将烧结钕铁硼毛坯料加工成方块,对不便加工成方块的可采用线切割等方式加工成圆柱。如果样品含有防护层,应通过打磨等方式去除保护层。
    尺寸:在条件允许的情况下,推荐以下标准尺寸样品:方块12×12×8mm,圆柱13.5×8mm,其中8mm方向为易磁化方向。
    表面清理:采用稀硝酸溶液对样品进行清洗,机加工后的样品需要先将表面油污清除干净(具体操作方式详见标准要求)。
    样品数量及放置要求:同一批次样品不得少于3片,以5片为宜。样品易磁化方向应沿水平方向,易磁化表面不应与试样框或支架接触。样品间距离不小于10mm。

    5、试验条件

    试验条件应按表1规定设置。表1中规定了四种持续时间,应结合样品耐蚀性和客户要求来选择。

失重试验

    6、试验步骤

    试验前应用符合本标准以上用水规定的试验用水清洗试验箱及样品框。
    按相关规定要求对试验前样品进行目视外观检查,尺寸测量和称重;客户需要时应照相记录表面状态;必要时绘制样品框中样品摆放位置图,确保试验前后一一对应。
    将盛放样品的样品框放入HAST试验箱内,样品与箱内壁间距不应小于50 mm。

    到达试验条件的升温时间不应超过2小时,到达试验条件后再开始计时。
    试验中因停电或补充加湿水等原因导致试验临时中断的,也不允许打开试验箱;累计中断时间应不超过3小时(含降温及升温恢复时间),而且应在试验报告中进行说明。中断时间大于3小时的,原则应重新取样进行试验。
    在规定的试验时间结束后,样品在试验箱内的降温及保存时间累计应小于2小时。
    从试验箱内取出样品时,应避免被热蒸汽烫伤;取出的样品应在室温大气环境下放置0.5小时后进行外观检查、照相及腐蚀物清除。外观检查、照相、腐蚀物清除、干燥和质量称量全过程应在试验终止后5小时内完成。
    失重试验时,烧结钕铁硼永磁体样品表面一旦有腐蚀坑形成,随着腐蚀的扩展,达到一定临界点后,样品表面晶粒剥落导致的腐蚀失重随试验时间的增加几乎呈直线上升。失重临界点大约在5mg/cm2。

【相关推荐】
查看详情 + 上一条 MEMS器件老炼试验
查看详情 + 下一条 高温烤箱在电池行业高温性能测试的应用

东莞市水蜜桃隐私视频网站环境检测仪器有限公司 版权所有

备案号:粤ICP备63827038号

咨询热线:400-088-3892 技术支持:水蜜桃隐私视频网站仪器 百度统计

联系水蜜桃隐私视频网站

  • 邮箱:riukai@zyaxcs.com
  • 手机:189 3856 3648
  • 座机:0769-81019278
  • 公司地址:东莞市横沥镇神乐一路15号

关注水蜜桃隐私视频网站

  • <a id=" src="http://www.zyaxcs.com/resource/images/ee6ddfa37b974b8ab546b9456ceeac2a_2.jpg" title="">客服微信
网站地图